ユーザーガイド :予約一覧
変更日: 2024-12-20 17:05
目次
概要
予約一覧 ページにて、デジタル ハブ プラス 経由の予約をすべて確認することができます。
宿泊実績の照合はいつ行うべきですか?
期限は、チェックアウト日の翌月の5日です。それまでに、すべての新規予約について宿泊実績の照合を完了してください。
例:チェックアウトの予約月が5月の場合、翌月の6月5日が期限
新たな予約は、チェックアウト日の翌月の5日までに宿泊実績の照合を完了してください。期限までに照合されていない場合、実際の状況に関わらず、この期間内の予約が全て宿泊済みとして自動的に処理されてしまうため、ご注意ください。
宿泊実績の照合が可能な予約を確認する方法は?
どの予約が、前月の宿泊実績照合準備を完了しているかを確認するには、以下の3つの方法があります。
方法 1
予約一覧 ページを開き、「チェックアウト日」の期間を前月 (例:今月が8月の場合、2024-07-01~2024/07/31) に設定し、「予約状況の修正」のプルダウンから「宿泊実績照合の準備が完了」をクリックし、該当期間の予約を確認することができます。

方法 2
毎月1日に、宿泊実績の照合に関するリマインダーをメールにてお送りします。そのメール内の「今すぐ照合」をクリックすると「予約一覧」ページに遷移し、そこから該当予約を確認することができます。

方法 3
マーケティング目標 ページ内 宿泊実績照合の準備完了 の「見る」をクリックして予約一覧ページに遷移し、そこから該当予約を確認することができます。

注意:期限が過ぎるとすべての予約が、宿泊済み として自動的に処理されてしまうためできるだけ早く予約の照合を行うことをお勧めします。
各予約の宿泊実績の照合はどのように確認できますか?
予約状況の修正
アクション欄にある「宿泊実績の照合」をクリックすることで、以下の項目の予約情報を修正することができます。
予約状況
チェックイン日
チェックアウト日
予約売上 (予約通貨)
予約通貨
部屋数
宿泊人数
料金プランコード

予約状況では、4つのオプションをそれぞれの予約に対して選択できます。
宿泊完了
キャンセル
キャンセルペナルティ
ノーショー

注意:宿泊完了 や キャンセルペナルティ の予約は、コミッションの計算に大変重要です。そのため、施設のシステムにおける予約状況、および予約収益 (予約通貨)は正確に更新してください。
複数予約の修正
予約一覧から編集するだけでなく 一括更新 ツールを利用して、予約をまとめて編集することもできます。一括更新ボタンをクリックするとポップアップウィンドウが表示されます。
記載されているステップ通り、予約情報のファイルをダウンロードし、予約状況やその他の情報を更新したうえでファイルをアップロードする、という手順で修正を行ってください。

予約ファイル を更新する際のポイント:
予約ステータス が有効であり、予約状況が選択肢4つのいずれかと一致していることを
確認してください:
宿泊完了
キャンセル
キャンセルペナルティ
ノーショー
日付形式がエクセルによって自動的に変更されていないかを確認し、列の見出しで指定
した日付形式と一致していることを確かめてください。
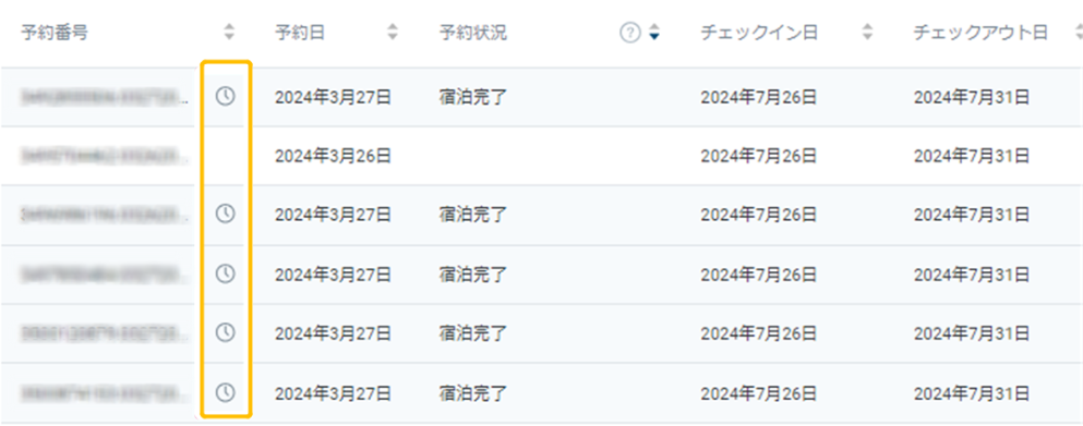
更新後、システムが結果を処理するのに数分かかります。その間列はロックされ、更新待ち予約の横に 時計のアイコン が表示されます。同期が完了するとデータが更新されるので、並び替えやフィルタリングに影響を与える可能性がありますので、ご留意ください。

この回答は役に立ちましたか? はい いいえ
フィードバックを送信